液体沸腾时的传热是传热学科中的重要方面,特别是水的沸腾传热特性,不仅有其典型性,而且有更广泛的实用意义。
一、实验目的
通过本试验观察水在大容器内沸腾的现象,建立起水泡状沸腾的感性认识。改变试件的热负荷,同时测定加热功率及表面温度,即可控制大容器内水泡沸腾区的沸腾曲线q~⊿t。
二、实验原理
大容器沸腾换热系数a由下式定义:

本试验装置所用的试件是不锈钢管,放在饱和温度状态下的蒸馏水中。利用电流流过不锈钢管对其加热,可以认为这样就构成了表面有恒定热流密度的圆管。测定流过不锈钢圆管的电流及其两端的电压降即可准确地确定表面的热流密度。表面温度的变化直接反映出表面放热系数的大小。
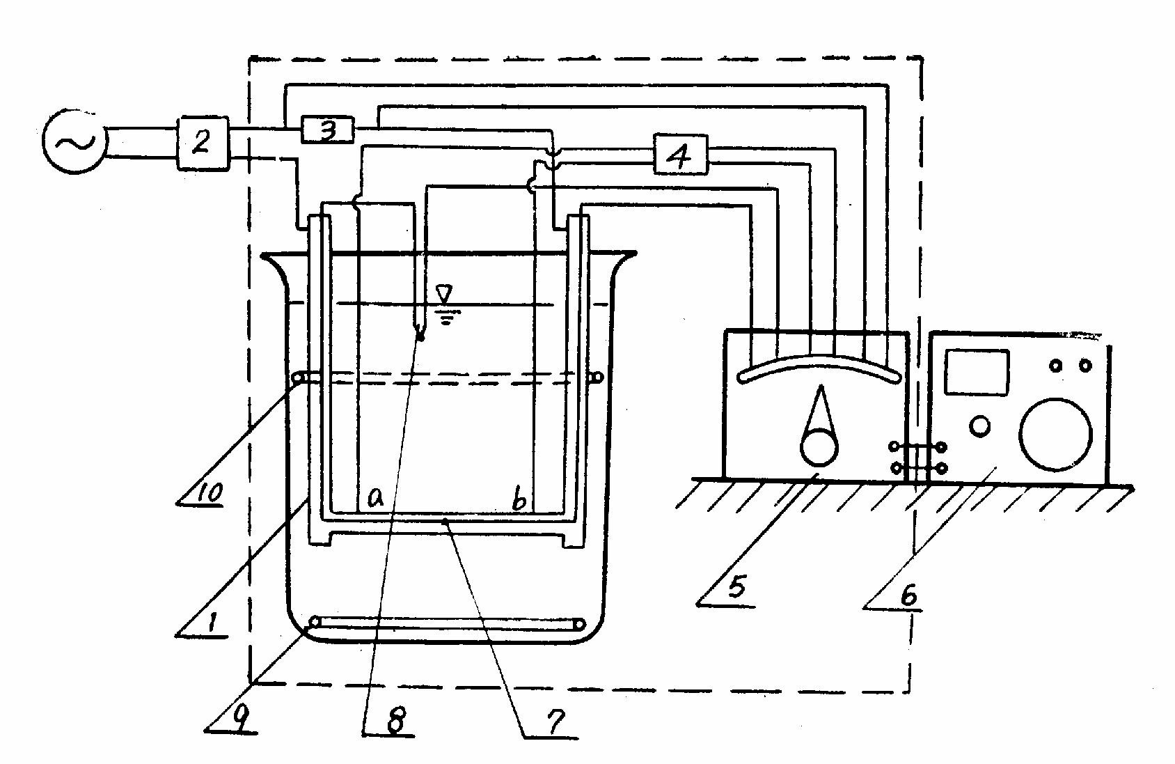
三、实验装置及测量系统
图1为试验设备的本体,其试件为不锈钢薄壁管1。其两端通过电极管3引入低压直流大电流,将不锈钢管加热。管子放在盛有蒸馏水的玻璃容器4中,在饱和温度下,调节电极管的电压,可改变管子表面的热负荷,能观察到汽泡的形成,扩大,跃离过程,泡状核心随着管子热负荷提高而增加的现象。
管子的发热量电流过它的电流及其工作段的电压降来确定。为排除试件端部的影响,在a、b两点测量工作段的电压降,以确定通过a、b之间表面的散热量Q。试件外壁温度t2,很难直接测定,对不锈钢管试件,可利用插入管内的铜——康铜热电偶2测出管内壁温度t1,再通过计算求出t2。

不锈钢试件;2. 热电偶;3. 电极管;4. 玻璃容器;
图1 大容器内水沸腾放热试件本体
要达到上述基本要求,整个试验装置见图2
加在管子两端的直流低压大电流由硅整流器2供给,改变硅整流器的电压可调节钢管两端的电压及流过的电流,测定标准电阻3两端的电压降可确定流过铜管1的工作电源。


1、试件本体2、硅整流器3、标准电阻4、分压箱5、转换开关6、电砬差计
7、热电偶热端8、热电偶冷端9、辅助电热器10、冷却管

图2大容器内水沸腾放热试验装置简图
本试验台中为方便起见,省略了冰瓶,测量管内壁温的热电偶的参考点温度不是摄氏零度,而是容器内水的饱和温度ts,即其热端7放在管子内,冷端3放在蒸馏水中,所以热电偶反映的是管内壁温度与容器内水温之差的热电势输出E(t1,t2)容器内水温ts用水银温度计测量。为了能用一台电位差计6同时测定管内壁热电偶的毫伏值,试件ab间电压降及标准电阻的电压降,装有一转换开关5。在测量试件ab间电压降时,由于电位差计量程不够,故在电路中接入一台分压箱4。为使蒸馏水达到饱和温度,试验研究用辅助电热器将水加热到沸,并保持其沸腾状态,即可进行试验。
表1试件的几何参数
|
参数
|
单位
|
试件号
|
|
|
|
1
|
|
|
|
|
管子内半径
|
mm
|
2.2
|
|
|
|
|
管子外半径
|
mm
|
3
|
|
|
|
|
管子壁厚δ
|
mm
|
0.4
|
|
|
|
|
工作段ab间长度L
|
m
|
0.1
|
|
|
|
|
工作段外表面积F=2prL
|
㎡
|
|
|
|
|
|

|
℃/W
|
|
|
|
|
作泡状沸腾换热试验时,选用其中任何一种直径的不锈钢管皆可。
四、实验步骤
1、准备与启动。按图2将试验装置测量线路接好,调整电位差计,使其处于工作状态。玻璃容器内充满蒸馏水至4/5高度。接通辅助电热器,将蒸馏水烧开,并维持其沸腾温度。启动硅整流器,逐渐加大工作电流。
2、观察大容器内水沸腾的现象。
缓慢地加大管子的工作电流,注意观察下列的沸腾现象,在钢管的某些固定点上逐渐形成汽泡,并不断扩大,达到一定大小后, 汽泡跃离管壁,渐渐上升,最后离开水面。产生汽泡的固定点称为汽化核心。汽泡跃离后,又有新的汽泡在该汽化核心产生。如此周而复始,有一定的周期。随管子工作电流增加,热负荷增大,管壁上汽化核心的数目增加,汽泡跃离的频率也相应加大。如热负荷增大至一定程度后,能产生的汽泡就会在管壁逐渐形成连续的汽膜,就由液态沸腾向膜态沸腾过渡。此时壁温会迅速升高,以至将管子烧毁。(因此,试验中工作电流水允许过高,以防出现膜态沸腾。)
3、测定放热系数a
为了确定放热系数a,需要测定下列参数
(1)容器内水的饱和温度t3, ℃;
(2)标准电阻两端电压降,V1, mV;
(3)管子工作段ab间的电压降V, V;
(4)反映管内壁温度与容器内水温之差的热电势输出E
为了测定不同热负荷下放热系数a的变化,工作电流在30—— 安培范围内改变,共7~8个工况。每改变一个工况,待稳定后记录上列数据。
4、试验结束前先将硅整流器旋至零值,然后切断电源。
5、必要时可调换不同直径的不锈钢管子,进行上述试验。
五、实验数据的计算和整理
1、电流流过试验管,在工作段AB间的发热量Qw
QwI×V W
式中:V —— 工作段ab间电压降, V
I —— 流过试件的电流, A
电流由它流过标准电阻3产生的电压降V1来计算。因为标准电阻为150A/75mv,所以测得标准电阻3上每1mv电压降,等于有2A的电流流过,即
Im2×V1 A
电压降由下式求得:
V=T×V1×10‐³
其中:T —— 分压箱倍率,T=201
V1 —— 试件ab间的电压经分压箱后测得的值,mV
2、试件表面热负荷q
q=Q/F W/㎡
式中:F —— 工作段ab间的表面积,㎡
3、管子外表面温度t2的计算
试件为圆管时,按有内热源的长圆管,其管外表面为对流放热条件,管内壁面绝热时,根据管壁温度可以计算外壁温度:
4、泡态沸腾时放热系数a
在稳定情况下,电流流过试验管发生的热量,全部通过外表面由水沸腾放热而带走。
a=Q/F⊿t=q/(t2-t1) W/m³K
六、实验报告要求及注意事项
实验报告要求
1、在方格纸上,以q为纵座标、⊿t为横座标将各试验点绘出,并连成曲线。
2、将实验结果与逻逊瑙整理推荐的泡态沸腾热负荷q与温差⊿t的关系式。
进行比较,分析讨论系数Cpt变化带来的影响。
3、在方格纸上绘制a~⊿t曲线。
注意事项
1、预习实验报告,了解整个试验装置各个部件,并熟悉仪表的使用,特别是电位差计,必须按操作步骤使用,以免损坏仪器。
2、为确保试验管不致烧毁,硅整流器的工作电流不得超过 100A,以防试验管及硅整流器损坏。
表2实验原始数据记录及参数计算
|
项目
序号
|
参数
|
符号及计算公式
|
工况
单位
|
1
|
2
|
3
|
4
|
5
|
6
|
7
|
8
|
|
1
|
沸腾水饱和温度
|
|
℃
|
|
|
|
|
|
|
|
|
|
2
|
管内壁温与水温之差的热电势输出
|
E(t1,t2)
|
mV
|
|
|
|
|
|
|
|
|
|
3
|
试件ab间电压经分压后测得的值
|
V2
|
mV
|
|
|
|
|
|
|
|
|
|
4
|
标准电阻两端电压降
|
V1
|
mV
|
|
|
|
|
|
|
|
|
|
5
|
管内壁温度
|
t1
|
℃
|
|
|
|
|
|
|
|
|
|
6
|
管子ab间电压降
|
V=T×V2×10‐³
|
V
|
|
|
|
|
|
|
|
|
|
7
|
管子工作电流
|
I=2×V1
|
A
|
|
|
|
|
|
|
|
|
|
8
|
管子放热量
|
Q=V×I
|
W
|
|
|
|
|
|
|
|
|
|
9
|
管子外壁温度
|
t2= t1-Q
|
℃
|
|
|
|
|
|
|
|
|
|
10
|
管子表面热负荷
|
q=Q/F
|
W/㎡
|
|
|
|
|
|
|
|
|
|
11
|
沸腾放热温差
|
⊿t=
|
℃
|
|
|
|
|
|
|
|
|
|
12
|
水沸腾放热系数
|
a=Q/ F⊿t
|
W/㎡℃
|
|
|
|
|
|
|
|
|
所用实验管号
试验管直径:D2= 系数:
工作段长度L= 最大允许工作电流
工作段一表面积F=